室内燃气管道安装施工工艺
3.1工艺流程:
安装准备→预制加工→干管安装→立管安装→支管安装→气表安装→管道试压→管道吹洗→防腐、刷油;
3.2安装准备:认真熟悉图纸,根据施工方案决定的施工方法和技术交底的具体措施做好准备工作。
参看有关专业设备图和装修建筑图,核对各种管道的坐标、标高是否有交叉,管道排列所用空间是否是合理。有问题及时与设计和有关人员研究解决,办好变更洽商记录。配合土建施工进度,预留槽洞及安装预埋件和套管。
3.3预制加工:按设计图纸画出管道分路、管径、变径、预留管口,阀门位置等施工草图,在实际安装的结构位置做上标记,按标记分段量出实际安装的准确尺寸,记录在施工草图上,然后按草图测得的尺寸预制加工(断管、套丝、上零件、调直、校对,按管段分组编号(工艺详见《暖卫管道安装施工工艺标准》)。
3.4干管安装:
3.4.1按施工草图,进行管段的加工预制,包括:断管、套丝、上零件、调直、核对好尺寸、按系统分组编号,码放整齐。
3.4.2安装卡架,按设计要求或规范规定间距安装。吊卡安装时涂料品牌网,先把吊棍按坡向、顺序依次穿在型钢支架上,吊环按间距位置套在管上,再把管抬起穿上螺栓拧上螺母,将管固定。安装托架上的管道时,先反管就位在托架上,把第一节管装好U型卡,然后安装第二节管,以后各节管均照此进行,紧固好螺栓。
3.4.3燃气引入管安装:燃气引入管不得敷设在卧室、浴室、密闭地下室;严禁敷设在易燃、易爆品的仓库、有腐蚀性介质的房间、配电间、变电室、电缆沟、暖气沟、烟道和进风道等部位。并应符合下列要求。
3.4.3.1引入管的公称直径不得小于40mm的。引入管坡度不得小于0.003,坡向干管。引入管穿过建筑物基础时,应设备在套管中,考虑建筑物沉降,套管应比引入管大两号。套管尺寸可按表3.4.3.1选用,套管与管子间的缝隙用沥青油麻堵严,热沥青封口。引入管应采用壁厚≥3.5mm的无缝钢管。距建筑物外墙1m以内的地下管及套管内不许有接头,弯管处用煨弯处理。
穿墙套管尺寸(mm) 表3.4.3.1
3.4.3.2一般进气引入管遇暖气沟时,从室外地上引入室内,管中距室内地面高500mm管材采用无缝钢管整管煨弯,做加强防腐层,穿墙管加钢套管。室外管顶加焊一丝堵或作成三通丝堵,室外管砌砖台内外抹灰保护,内填充膨胀珍珠岩保温,顶上加盖板。
3.4.3.3引入管进气口如无暖沟或其它障碍时,由室外地下直接引入室内,管材采用无缝钢管整管煨弯,做加强防腐层,穿墙及穿地面时均加钢套管,穿墙套管出内外墙面50mm。穿地面时,套管出地面50mm,下面与结构底板平。
3.4.3.4高层建筑的燃气引入管穿建筑基础时,应考虑建筑物沉降的影响,入口管在穿墙时应预留管洞,上端按建筑物最大沉降量为准,两侧保留一定间隙进入室内后,在室内侧沿管子砌封闭管井。然后填以沥青油麻4号沥青堵严,外加钢丝网抹灰。
3.4.3.5居民用户的引入管应尽量直接引入厨房内,也可以由楼梯间引入。公共设施的引入管位置,应尽量直接引至安装煤气设备或煤气表的房间内。
3.4.4干管安装应从进户引入管后或分支路管开始,装管前要检查管腔并清理干净。在丝头处涂好铅油缠好麻或缠好聚四氟乙烯填料带燃气管道防腐层,一人在末端扶平管道,一人在接口处把管相对固定对准丝扣,慢慢转动入扣,用一把管钳咬住前节管件,用另一把管钳转动管至松紧适度,对准调直时的标记,要求丝扣外露2~3扣,并清掉麻头依此方法装完为止(管道穿过伸缩缝或过沟处,必须先穿好钢套管)。
3.4.5室内水平管敷设在楼梯间或外走廊时,距室内地面不低于2.2mm,距顶棚不小于0.15m。水平管应保持0.001~0.003的坡度,其坡向要求:由煤气表分别坡向管道和燃具。
3.4.6室内燃气管道与其它室内管道、建筑设备的最小平行或交叉净距应符合表3.4.6.1和表3.4.6.2的规定。
当平行或交叉净距达不到上述要求时,应作防护或绝缘处理。
室内燃气管与其它管道及设备间的平行净距(m)表3.4.6.1

室内燃气管道与其它管道及设备间的交叉净距(m)表3.4.6.2
埋地燃气管与其它相邻管道及电缆间的最小水平净距(m)表3.4.6.3

埋地燃气管与其它相邻管道及电缆间的最小垂直净距(mm)表3.4.6.4

埋地燃气管与其它相邻的管道、电缆等的最小水平、垂直距离见表3.4.6.3和表3.4.6.4、表3.4.6.5。
煤气管与其它相邻管道及电线、电表箱、电气开关间的安全距离(m) 表3.4.6.5
3.4.7室内管道穿墙或楼板时,应置于套管中,套管内不得有接头。穿墙套管的长度应与墙的两侧平齐,穿楼板套管上部应高出楼板30~50mm,下部与楼板平齐。
3.4.8管道固定一般用角钢U字卡,其间距应符合表3.4.8的规定。并每层楼的室内煤气立管至少加设一个固定卡子,在灶前下垂管上至少设一个卡子,如下垂管有转心门时可设两个卡子。
气管卡间距(m)表3.4.8
3.4.9室内煤气管道上的阀门,≥DN65时,一般采用煤气用闸板阀,管径≤DN50采用压兰式或拉紧式转心门。进气管总阀门一般安装在总立管上,距地面1.5m,楼梯间进气总立管阀门距地面1.7m。当流量≤3m3/h的时,表前应设置一个转心门,表后至燃具前,可不另设阀门;当流量≤20m3/h的煤气表时,表前所设阀门,可作为食堂和其它公用福利设施的总进气阀门;当煤气用量≤57m3/h时或不能中断供气的用户,煤气表应安装旁通阀门,同时加设煤气表的出口阀门;从室内煤气总干管至每个食堂的分支管上应安装一个分支阀门;高层建筑(凡十层和十层以上的住宅和建筑物高度超过24m的其它民用建筑)引入管在室外的起点应设置切断阀门,室内的煤气管道上除安装一个总阀门外,每隔六层在总立管上应再增进友谊设一个分段阀门,在室内终点宜设置紧急切断阀门;有两根以上的分段立管时,可在每根立管上加设一个阀门,若每个分段阀门所带的户数超过30户时,可酌情增设阀门。煤气管道上安装拉紧式转心门时,转心门轴线应和墙壁平行;安装压兰式转心门时,其轴线只准与墙面垂直。
3.4.10采用焊接钢管焊接,先把管子选好调直,清理好管膛,将管道运到安装地点,安装程序从第一节开始;把管子就位找正,对准管口使预留口方向准确,找直后用点焊固定(管径≤50mm以下焊2点,管径≥70mm以上点焊3点),然后按照焊接要求施焊,焊完后应保证管道正直。
3.4.11管道安装完毕,检查坐标、标高、预留口位置和管道变径等是否正确,然后找直,用水平尺校对复核坡度,调整合格后再调整吊卡螺栓U形卡,使其松紧适度,平正一致。
3.4.12摆正或安装好管道穿结构处的套管,填堵管洞口,预留口处应加好临时管堵。
3.5立管安装:
3.5.1核对各层预留孔洞位置是否垂直,吊线、剔眼、栽卡子。将预制好的管道按编号顺序运到安装地点。
3.5.2安装前先卸下阀门盖,有钢套管的先穿到管上,按编号从第一节开始安装。少铅油缠麻将立管对准接口转动入扣,一把管钳咬住管件,一把管钳拧管,拧到松紧适度,对准调直标记要求,丝扣外露2~3扣,预留口平正为止,并清净麻头。
3.5.3检查立管的每个预留口标高、方向等是否准确、平正。将事先栽好的管卡子松开,把管放入卡内拧紧螺栓,用吊杆、线坠从第一节开始找好垂直度,扶正钢套管,最后配合土建填堵好孔洞,预留口必须加好临时丝堵。立管截门安装朝向应便于操作和修理。
3.5.4燃气立管一般敷设在厨房内或楼梯间。当室内立管管径不大于50mm时,一般每隔一层楼装设一个活接头,位置距地面不小于1.2m。遇有阀门时,必须装设活接头,活接头的位置应设在阀门后边。遇有阀门时,必须装设活接头,活接头的位置应设在阀门后边。管径>50mm的管道上可不设活接头。
3.6支管安装:
3.6.1检查煤气表安装位置及立管预留口是否准确。量出支管尺寸和灯叉弯的大小。
3.6.2安装支管,按量出支管的尺寸,然后断管、套丝、煨灯叉弯和调直。将灯叉弯或短管两头抹铅油缠麻,装好油任,连接煤气表,把麻头清净。
3.6.3用钢尺、水平尺、线坠校对支管的坡度和平行距墙尺寸,并复查立管及煤气表有无移动,合格后用支管替换下煤气表。按设计或规范规定压力进行系统试压及吹洗,吹洗合格后在交工前拆下连接管,安装煤气表。合格后办理验收手续。
3.7气表安装。
3.7.1居民家庭每户应装一只气表:集体、营业、事业用户,每个独立核算单位最少应装一只表。
3.7.2煤气表必须具备以下条件方可安装:
3.7.2.1煤气表有出厂合格书,厂家有生产许可证,表经法定检测单位检测;
3.7.2.2距出厂日期不超过4个月,如超过,则需经法定检测单位检测。
3.7.2.3无任何明显损伤。
气表安装过程中不准碰撞,下部应有支撑。气表与周围设施的水平净距按表3.7.2.3所列规定。
气表与周围设施水平净距(m) 表3.7.2.3
3.7.3安装皮膜表时,应遵循以下规定:
3.7.3.1皮膜表安装高度可分为:
高位表安装:表底距地高度不小于1.8m;
中位表安装:表底距地高度不小于1.4~1.7m; 低位表安装:表底距地净高度应小于0.15m。
3.7.3.2在走道上安装皮膜表时必须按高位表安装;室内皮膜表安装以中位表为主,低位表为辅。
3.7.3.3皮膜表背面距墙净距10~50mm。
3.7.3.4多个皮膜表安装在墙面上时,表与表之间的净距不少于150mm。
3.7.3.5安装一只皮膜表,一般只在表前安装一个旋塞。
3.7.4公共建筑用户煤气表安装要点如下:
3.7.4.1安装程序:安装引入管并固定,然后安装立管及总阀门,再作旁通管及煤气表两侧的配管。
3.7.4.2干式皮膜表安装方法:流量为20m3/h、34m3/h的煤气表可安装在墙上,表下面用型钢(如L40×4角钢)支架固定。流量大于57m3/h的煤气表可安装在地面的砖台上,砖台高0.1~0.2m,应设旁通管。表两侧配管及旁通管的连接为丝接,也可采用焊接。
3.7.4.3罗茨表(腰鼓表)的安装方法:
安装前,必须洗掉表计量室内的防锈油,其方法是用汽油从表的进口端倒进去,出口端用容器盛接,反复数次,直至除净为止。
罗茨表必须垂直安装,高进低出。并应将过滤器与表直接连接。过滤器和罗茨表两端的防尘盖在安装前不应拆掉。
罗茨表计量需进行压力和温度修正时,其取压和测温一般设置在仪表之前。
安装完毕,先通气检查管道、阀门、仪表等安装连接部位有无渗漏现象,确认各处密封良好后,再拧下表上的加油螺塞,加入润滑油(油位不能超过指定窗口上的市场调节刻线)拧紧螺塞,然后慢慢地开启阀门,使表运转,同时观察表的指针是否均匀平稳地运转,如无异常现象就可正常工作。
3.8室内煤气管道试压:
3.8.1室内煤气管道应进行耐压和严密度两种试验,试验介质为压缩空气或氮气。
3.8.2住农牧民内煤气管道试验:(试验温度应为常温)
3.8.2.1试验范围:
耐压试验为自进气管总阀门至每个接灶管转心门之间的管段。试验时不包括煤气表,装表处应用短管将管道暂时先联通。严密性试验,在上述范围内增加所有灶具设备。
3.8.2.2耐压试验:
管道系统打压0.1MPa后,用肥皂水检查焊缝和接头处,无渗漏,同时压力也未急剧下降为合格。
3.8.2.3严密度试验:
管道系统内不装煤气表时,打压至700mm水柱后,观察10分钟,压力降不超过20mm水柱为合格;管道系统内装有煤气表时,打压至300mm水柱,观察5分钟,压降不超过20mm水柱为合格。
3.8.3食堂、锅炉房的煤气管道试验:
3.8.3.1试验范围:
自进气管总截门至灶前(锅炉包括燃烧器)转心门之间的管道。
3.8.3.2耐压试验:
低压管道试验压力为0.1MPa,中压管道试验压力为0.15MPa,用肥皂水检查接口,无漏气,同时试验
压力也无急剧下降,则为合格。
3.8.3.3严密度试验:
低压管道系统试验压力为1000mm水柱观察一小时,如压力降不超过60mm水柱则为合格。中压管道试验压力为1.5倍的工作压力,但不小于0.1MPa表压,试验应在管道充气后3h开始观测,如经一小时压力降不超过1.5%,则为合格。
3.8.3.4煤气表严密度试验:
试验应在管道严密度合格后进行,试验压力为300mm水柱,观察5min,压降不超过20mm水柱为合格。
3.8.4液化石油气管道的试验:
3.8.4.1试验范围:
全系统以减压器出口转心门为界,减压器、集气管一侧为高压段,另一侧为低压段。
3.8.4.2耐压试验:
高压段只做耐压试验,在关闭好减压器出口转心门后,打压到1MPa,用肥皂水检查所有接口,无漏气为合格。
3.8.4.3严密度试验:
试验压力打到700mm水柱后,观察10min,压力降不超过20mm水柱为合格。
3.9管道吹洗:吹洗应不带气表进行,管道在试压完毕后即可做吹洗,吹洗应用压缩空气或氮气连续
进行,应保证有充足的流量。吹洗洁净后办理验收手续。
3.10管道的除锈和防腐:
3.10.1室外管道的防腐处理:
应根据管道敷设地点的土质对管道腐蚀的程度:管道使用的重要程度而选用不同的绝缘层做法。在管道穿过有杂散电流地区时,应采取措施,保证管道的良好使用。一般采用石油沥青防腐层,其结构见表3.10.1.1,材料用量见表3.10.1.2。分为加强防腐和特加强防腐。一般土壤采用加强防腐。在土壤腐蚀性较高的情况下,或对于穿越河道,重要道路,有顶管和加套管或过街沟时的煤气管道采用特加强防腐。
石油沥青涂层等级与结构 表3.10.1.1

室外管道石油沥青涂层施工要求如下:
防腐材料用量表 表3.10.1.2

说明:①沥青玛平定脂配方为:常温下,4#石油沥青:高岭土(或滑石粉)=85:15(重量比)。
②冷底子油配方为:4#石油沥青:汽油(体积比)=1:3.10.1.6。
3.10.1.1除锈:必须除去铁锈及其它污垢,然后将表清除干净,露出金属本色。
3.10.1.2涂底漆:经除锈后的管子表面应干燥、无尘后,方能涂刷底漆,底漆涂刷应均匀、无气泡、凝块、流痕、空白等缺陷。
3.10.1.3熔化沥青:脱净水、不含杂质,三项指标(针入度、延度、软化点)合格。熬制沥青温度一般在200℃左右,最高不超过240℃。
3.10.1.4浇涂沥青:底漆干后方可浇涂沥青。
3.10.1.5包扎玻璃布:包扎时,必须使用干燥的玻璃布。玻璃布压边为10~15mm,搭接长度为50~80mm。玻璃布浸透率应达95%以上,严禁出现50mm×50mm以上面积的空白。
3.10.1.6 涂层质量检查:
a外观:用目视逐根逐层检查,表面应平整、无气泡、麻面、皱纹、瘤子等缺陷。
b厚度:按设计防腐等级要求,总厚度应符合表1-28的规定。
检查时,每20根抽查一根,每根测三个截面,每个截面应测上、下左、右四个点,并以最薄点为准。
若不合格,再抽查两根。其中一根仍不合格时,全部为不合格。
c粘结力:在防腐层上切一夹角为45°~60°的切口,从角尖端撕开面积为30~50cm,不易撕开而且撕开后粘附在钢管表面的第一层沥青占撕开面积的100%为合格。
按上述方法每20根抽查一根,每根测一点燃气管道防腐层,若不合格,再抽查两根,其中一根还不合格时,全部为不合格。
d涂层的绝缘性:用电火花检漏仪进行检测,以不打火花为合格,最低检漏电压按下列公式计算:
U=7840δ1/2
式中U——检漏电压(V):
δ——涂层厚度(取实测数字的算述平均值)(mm)。
(a)每20根抽查一根,从管道一端测至另一端,若不合格,再抽一根,其中有一根不合格时,则全部不合格。
(b)回填土前,对施工摆放好的防腐涂层管道再进行一次检查,以管道首端至末端,发现有打火点时,必须修补。
e补口、补伤:补口、补伤的防腐涂层结构及所用材料均应与原管道防腐涂层相同。补口时,每层玻璃布应将原管端沥青涂层接茬处搭接长50mm以上;补伤时对于损伤面直径大于100mm以上时,应按防腐层结构进行补伤,小于100mm时,可用沥青修补。
f对于石油沥青防腐绝缘涂层管道,回填土后必须用防腐层检漏仪进行一次涂层检漏,查出有损伤处,必须修补合格。
g对上述各项质量标准,必须列表记录,并保存备查。
3.10.2室内煤气管道和附件除锈处理后刷樟丹油一道,银粉或灰漆二道。
3.11居民用灶具安装:
3.11.1居民生活用气应采用低压燃气。低压燃烧器的额定压力为:天然气2kPa;人工煤气1kPa。
3.11.2安装燃气灶具的房间应满足以下条件:
3.11.2.1不应安装在卧室、地下室内。若利用卧室套间当厨房,应设门隔开。厨房应具有自然通风和自然采光,有直接通室外的门窗或排风口,房间高度不低于2.2m。
3.11.2.2耐火等级不低于二级,当达不到此标准时,可在灶上800mm两侧及下方100mm范围内,加贴不可燃材料。
3.11.3新建居民住宅内厨房允许的容积热负荷指标,一般取580W/m3。
3.11.4民用灶具安装,应满足以下条件:
3.11.4.1灶具应水平放置在耐火台上,灶台高度一般为650mm。
3.11.4.2当灶和气表之间硬接时,其连接管道的管径不小于DN15mm,并应装有话接头一个。
3.11.4.3灶具如为软连接时,连接软管长度不得超过2m,软胶管与波纹管接头间应用卡箍固定,软管内径不得小于8mm,并不应穿墙。
3.11.4.4公用厨房内当几个灶具并列安装时,灶与灶之间的净距不应小于500mm。
3.11.4.5安装在有足够光线的地方,但应避免穿堂风直吹灶具。
3.12公共建筑用户灶具安装:
3.12.1灶具结构分类:
3.12.1.1钢结构组合灶具:如上海煤气表具厂生产的爆炒灶、铁板台面灶、水管式蒸饭灶、火管式蒸饭灶、铁皮饭灶;北京市煤气用具厂生产的三眼灶、六眼灶、开水炉、煎饼炉等,这类灶具大多由生产厂家将灶体及燃烧器组成整体,安装时应根据设计位置现场就位,配管即可。
3.12.1.2混合结构灶具:如大型西餐灶、外壳为钢(或不锈钢)及铸铁成品结构,灶的内部按设计要求现场砌筑砖体,并作隔热保温设施,安装燃烧器并配管。
3.12.1.3砖结构灶:主要有蒸锅(大锅灶)、高灶(炒蒸灶),这类炉灶的灶体需现场砌筑,然后根据需要配制不同规格的燃烧器。
3.12.2燃烧器前配管:
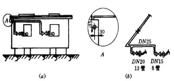
3.12.2.1高灶燃烧器前的配管如图3.12.2.1所示,如选用8管(作次火用)、13管(作主火用)的立管燃烧器,这两种燃烧器都是单进气管,口径分别为成DN15mm、DN20mm螺纹连接。
安装时,应将活接头放在燃烧器进灶口的外侧,阀门与活接头之间应栽卡子,灶前管一般的高灶沿下方。

图3.12.2.1 高灶燃烧器前的配管
(a)高灶立面图;(b)高灶燃烧器前配管
3.12.2.2蒸锅燃烧器的配管,如选用18管,24管燃烧器头部内外圈隔开,双进气管,口径都是DN20mm螺纹连接。分别设阀门控制开关,其连接形式如图3.12.2.2 (a)所示。

图3.12.2.2蒸锅燃烧器前的配管
(a)18管、24管立管燃烧器前的配管;(b)30管、33管立管燃烧器前配管
30管、33管立管燃烧器为单进气管,口径为DN25mm螺纹连接,连接形式如图3.12.2.2(b)所示。燃烧器的开关为联锁器式旋塞,分别控制燃烧器及燃烧器的长明小火。燃烧器的配管口径为DN25mm,小火的配管口径为DN10mm,并引至燃烧器头部,并要求小火出火孔高出燃烧器立管火孔1~2cm,使用时先开启长明小火开,点燃长明小火,再开启联锁旋塞的大火开关,使燃烧器自动引燃。
3.12.3立管燃烧器的安装要求:
3.12.3.1燃烧器头部中心应与锅的中心上下对中,误差一般不超过1cm,以保证不烧偏锅。
3.12.3.2燃烧器头部应保持水平,以保证火焰垂直向上燃烧。
3.12.3.3控制好燃烧器出火孔表面距锅底距离。北京地区高灶的立管燃烧器一般距锅底距离为13~14cm;蒸锅的此距离值一般为17~19cm。总的应以火焰的外焰接触锅底为宜。
3.12.4燃烧器安装注意事项:
3.12.4.1燃烧器的材质如为铸铁,配管时丝扣要符合要求,上管时用力要均匀,以防止进气管撑裂。
3.12.4.2燃烧器前的旋塞一般选用拉紧式旋塞,安装时应使旋塞的轴线方向与灶体表面平行,便于松紧尾部螺母,以利维修。
3.12.4.3由于这类燃烧器本身进气管前不带阀门,而灶前燃烧器配管上的旋塞是管道系统的最后一道控制旋塞,旋塞至燃烧器的管段与丝扣无线试压检查,只有燃烧通气后方能检查是否漏气,因而这段安装时尤其应注意安装质量,以防止通气后发生事故。
3.12.5灶具对排烟道的要求:
3.12.5.1这个带有排烟口的燃气灶具,宜采用单独烟道,楼房多台设备合用一个竖烟道时,为防止排烟时相互干扰,应每隔一层楼接一台用具;用具接向水平烟道时,应顺烟道气流动方向设置导向装置。
3.12.5.2连接燃气灶具的排烟管的设计与安装要求如下:
a排烟管的直径应进行计算,最小不得小于燃气灶具排烟口的直径;

微信扫一扫打赏
